Michael E. Byczek
Attorney


The Byczek Law Patent Blog





New video posted to YouTube.

Learn about patent registration through a cast study of famous inventions throughout history.

Posted July 26, 2024






Mitsubishi Electric Corporation was granted a patent on 4/16/2024 titled "Control device for object detection device, object detection device, and non-transitory computer-readable storage medium" [11,960,003].

Figure 1 shows "a situation in which an ultrasonic transmission/reception unit of an object detection device according to a first embodiment of the present invention transmits and receives ultrasonic waves."

Posted April 22, 2024






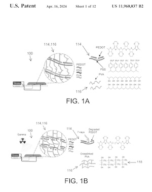
Purdue Research Foundation was granted a patent titled "Sensor system and method for gamma radiation dose measurement" on 4/16/2024 [11,960,037].

The patent summarizes that "a radiation sensing system and method that enhances the certainty of adequate sterility and that may be manufactured more efficiently over known radiation sensors, has been surprisingly discovered".

Posted April 22, 2024






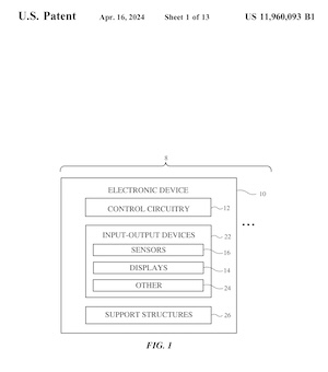
Apple Inc was granted a patent titled "Head-mounted display systems with gaze tracker alignment monitoring" on 4/16/2024 [11,960,093].

Figure 1 is "a schematic diagram of an illustrative electronic device such as a head-mounted display device in accordance with an embodiment".

The patent summarizes: "The displays of the head-mounted device may supply left and right images to left and right eye boxes. Left and right waveguides may be used in conveying the left and right images to the left and right eye boxes. The left and right waveguides may be transparent. This allows real-world images to be viewed through the left waveguide from the left eye box and through the right waveguide from the right eye box.

Posted April 22, 2024






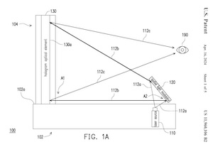
Acer Incorporated was granted a patent titled "Augmented reality device, notebook, and smart glasses" on 4/16/2024 [11,960,106].

The Abstract explains that "The AR device includes a laser source, a spatial light modulator (SLM), and a holo- gram optical element (HOE)." FIG. 1A shows a "side view of an AR device".

Posted April 22, 2024






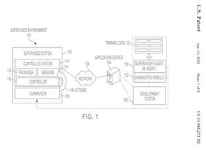
Palo Alto Research Center Incorporated, with Xerox Corporation as assignee, was granted a patent titled "Method and architecture for ai-assisted supervision for a controlled system" on 4/16/2024 [11,960,273].

The Abstract explains that "A respective sensor reading is an output of a sensor in the production system. The supervisor can then determine, using an artificial intelligence (AI) model, whether the set of sensor readings accommodates a fault associated with a corresponding sensor. Subsequently, the supervisor can determine an action that mitigates an effect of the fault and modify the set of sensor readings based on the action."

Figure 1 shows an "exemplary supervised environment that supports an Al-assisted supervised controlled system".

Posted April 22, 2024






Pharmaceutical patents are legal rights granted by the U.S. Patent and Trademark Office during the development of a drug. Patents can cover specific molecules, combinations of molecules, or the production process. The patent holder benefits from exclusive rights to manufacture, market, and profit from the drug.

Learn about pharmaceutical intellectual property from the new Byczek Law tutorial using prostate cancer as an example.

The image is from the patent "Thienopyrimidine compounds and use thereof" granted 11/27/2007 [7,300,935] with Takeda Pharmaceutical Company as assignee.

Posted April 6, 2024






New video posted to YouTube.

Recent quantum computing patents are reviewed along with a brief explanation on how to classify quantum computers for a patent search

View a comprehensive tutorial and analysis about quantum computer patents.

Posted October 25, 2023



Back to Byczek Law